 
 Негативные отзывы о товаре — всегда правда?
Человеческая психика устроена таким образом, что на негативные события и высказывания люди реагируют острее — а значит, и запоминают лучше. Это объясняет такую большую силу воздействия даже одного негативного отзыва в море позитивных.
Перед покупкой люди привыкли тщательно проверять хорошие отзывы и слепо доверять плохим. Но плохие отзывы очень часто «рассыпаются», когда в дело вступают факты, решения суда и простая логика.
Так случилось и в двух случаях, связанных с покупкой и неправильной эксплуатацией кварцевого ламината FARGO.
Откуда берутся негативные отзывы, если материал такой хороший?
Этим вопросом вы зададитесь. Отвечаем.
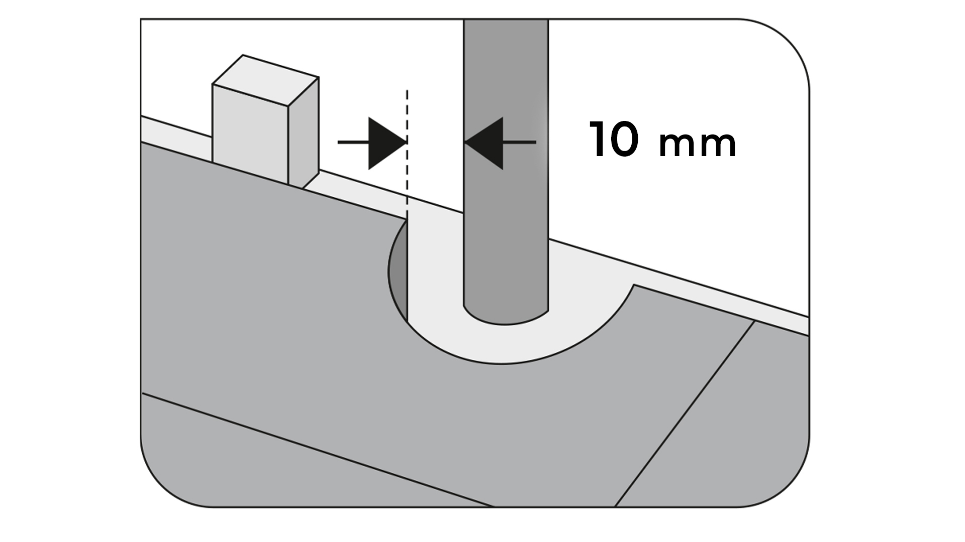
Кварцевый ламинат — твёрдый материал на основе SPC-плиты высокой плотности, которая большей частью состоит из молотого камня. По законам физики при перепадах температуры даже камень имеет свойство расширяться и возвращаться к исходной плотности. Это нормальное явление, и вы его не заметите, если при монтаже будете соблюдать несколько простых правил.
 
Главное, что первоначально необходимо — это соблюдать зазоры, учитывать наличие очень тяжёлой мебели на полу (например, фортепиано) и соблюдение температурного режима системы тёплого пола.
 
FARGO — уникальный пол: он совместим с любой удобной вам системой тёплого пола и при этом выдерживает нагрев до +36 градусов. Это высокий порог для напольного покрытия, но он установлен, и необходимо следить за ним. Превышение температуры нагрева запрещено и ведёт к порче напольного покрытия.
 
 Полный список инструкций по монтажу и эксплуатации кварцевого ламината можно прочитать по ссылке. Такая же полная инструкция есть и на каждой пачке кварцевого ламината.
Разберёмся в суде
Компания «Рефлор» столкнулась с волной негатива, связанной со случаями, когда покупатели не соблюдали правила монтажа и эксплуатации.
Являясь производителем и работая на рынке напольных покрытий больше 15 лет, “Рефлор” - компания, уверенная в своём товаре. Инструкция по монтажу и эксплуатации написана профессиональными техническими специалистами с большим опытом, и в ней предусмотрены буквально все детали и подробности. Соблюдение этих инструкций — это страховка от любых неприятностей с кварцевым ламинатом.
К сожалению, в обоих случаях производитель FARGO столкнулся с игнорированием Инструкции. Несоблюдение правил монтажа и эксплуатации выявили:
Вслед за решением суда рассыпались и сами отзывы. Например, Otzovik удалил с сайта негативный отзыв о FARGO по решению Белгородского областного суда, определения Первого кассационного суда общей юрисдикции, где указано: дефекты возникли в результате нарушения технологии укладки напольного покрытия
Наша компания отстаивает свою репутацию в суде и борется со случаями, когда негативные отзывы пишутся на качественный товар, повреждения которого вызваны несоблюдением правил монтажа и эксплуатации, нарушением строительных норм.
Документы с решением суда смотрите по ссылке: https://refloor-bot.ru/link/f712c0fb53fe006385990e6e9a132c5b3a8927bc
Второй подобный случай — история, которая разворачивается на наших глазах прямо сейчас. Истец по делу № 2-4004/2023 выступила с жалобой на деформацию плашек кварцевого ламината FARGO. После проведения независимой экспертизы по решению суда истцу было отказано в удовлетворении требований по возврату денежных средств.
Более того, обращаем внимание на то, что истца обязали возместить сумму затрат на проведение экспертизы. Подавая в суд, человек берёт на себя ответственность за время специалистов и траты, направленные на поиски правды.. В случае победы ответчика (компании «Рефлор») в суде судебные издержки (затраты на судебную экспертизу и т.д.) несёт истец (покупатель).
Суд в мессенджерах?
Когда дело не задалось в суде и приходится признать свою неправоту, у некоторых истцов возникает потребность найти площадку, на которой независимая экспертиза и даже решение суда можно оставить в стороне.
Создавая канал в месенджерах и вступая в него, вы также берёте на себя ответственность. Репутация кварцевого ламината FARGO остаётся такой высокой долгие года неспроста. Компания разбирается с каждым случаем, вникая в подробности для того, чтобы помочь разобраться и устранить ошибки монтажа и/или эксплуатации. Но если дело дошло до суда, то “Рефлор” готовы отстаивать свои позиции.
Просим вас быть бдительными и верить решениям Суда на основании проверок и заключений независимой экспертизы.
Судебные решения, подтверждающие надлежащее качество Товара – напольного покрытия кварцевого ламината Fargo
1. В рамках дела № 2-87/2023, рассмотренного Октябрьским районным судом г. Белгорода (решение от 02.02.2023) вынесено решение об удовлетворении исковых требования Потребителя
Судом апелляционной инстанции решение отменено (определение от 19.09.2023, дело № 33-2704/2023), в ходе рассмотрения дела в суде апелляционной инстанции ООО «Центр независимой оценки» была проведена судебная экспертиза, по итогам которой установлено, что кварцевый ламинат Fargo до монтажа недостатков не имел.
Судом кассационной инстанции (определение от 14.02.2024, дело № 88-3521/2024) определение суда апелляционной инстанции оставлено без изменени
4. В рамках дела № 2-4004/2023, рассмотренного Кировским районным судом г. Саратов (решение от 18.12.2023) ООО «Первое Бюро Экспертиз» была проведена судебная экспертиза, подтвердившая надлежащее качество кварцевого ламината Fargo. В товаре не подтвердилось наличие производственных недостатков, на основании чего, суд отказал в удовлетворении исковых требований в полном объеме. Указанное решение оставлено в силе судом апелляционной инстанции (дело № 33-3265/2024, определение от 16.04.2024).
5. В рамках дела № 2-26/2023, рассмотренного Бердским городским судом (решение от 26.12.2023) было проведено две судебные экспертизы - ООО «НовоСтройЭксперт»; ФГБОУ «СИБСТРИН», в результате которых было установлено, что недостатки кварцевого ламината Fargo возникли после передачи товара потребителю, причиной их возникновения явилось несоблюдение истцом Инструкции Производителя. Суд, отказывая в удовлетворении исковых требований в полном объеме, признал вышеуказанные экспертные заключения относимыми и допустимыми доказательствами.
6. В рамках дела № 2-37/2024, рассмотренного Рыбинским городским судом г. Ярославль (решение от 27.02.2024) в ходе судебной экспертизы (положена в основу судебного акта) установлено, что выявленные недостатки кварцевого ламината Fargo являются следствием нарушений, допущенных при монтаже ламината, недостатки производственного характера не выявлены, в удовлетворении исковых требований отказано в полном объеме.
7. В рамках дела № 2-11/2024, рассмотренного Промышленным районным судом г. Оренбурга была проведена судебная экспертиза напольного покрытия – кварцевого ламината Fargo, по результатам которой установлено, что недостатки не являются производственными, а возникли в результате неправильной укладки ламината и неправильной эксплуатации (перегрев пола), на основании чего в удовлетворении исковых требований отказано в полном объеме
8. В рамках дела № 2-1603/2023, рассмотренного Анапским районным судом Краснодарского края была проведена судебная экспертиза Союзом «Торгово-Промышленная Палата города-курорта Анапы», экспертами установлено отсутствие вины Производителя товара в обнаруженных недостатках, в удовлетворении исковых требований Потребителя отказано в полном объеме.
Ознакомьтесь с документами: здесь экспертизы и решения суда по 2 делам.